2022-03-15

沙滩十字排球网也有专利?保护范围还很大!

召集至少三个朋友,并将每个象限指定为第一到第四。和你一起,每个方格都应该有一个人。你也可以有更多的球员——只要让他们在第一格外排队,当有人被淘汰时他们就会介入。

目标是进入第四格,球员可以在那里发球和得分。在第四格时,球员对角发球到第二格,然后将球传回任何其他格。每个球员每次回球只允许一次击球。当球落地时,打错球的球员将被淘汰,要么返回第一方格,要么返回底线。 

其余球员顺时针轮换。每当另一个玩家被淘汰时,第四格就会获得一分。玩家在被淘汰时保留他们的分数。玩到 11 并以两个优势获胜!

专利情况

美国发明专利US20150165288

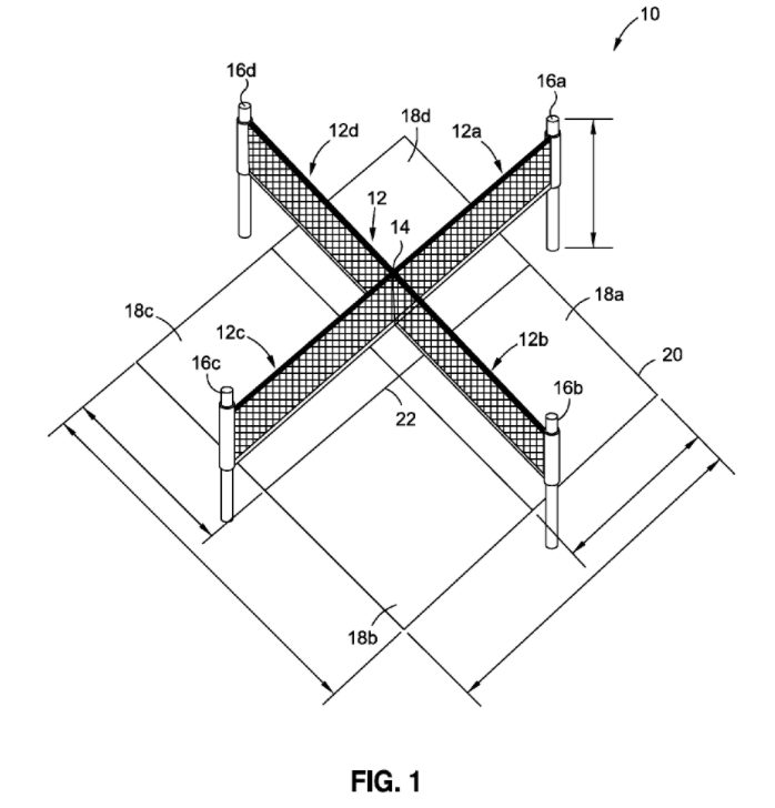
图1中描绘的网络系统12 。图1包括第一网部分12a、第二网部分12b、第三网部分12c、和第四网部分12d在中心交叉点14处相交。网部分12一 - 12d被布置成限定一对大致垂直的相交平面。

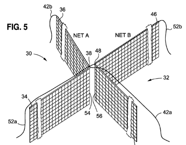
如图5所示,然后将每个网30、32折叠以形成大致垂直的"L"形。更具体地,第一网30围绕中点38折叠,使得第一端部34和第二端部36不再彼此共面对齐,而是形成大致垂直的构造。同样地,第二网32围绕中点48折叠以将第一端部44和第二端部46置于大致垂直的构造中。

如图6所示,机械紧固件58被松开并且暴露部分42一、 52系绳42、52中的一个分别从第二网32和第一网30移除。张紧弦42、52可以连接到位于游戏表面之外的外围杆,以便在玩游戏时减轻安全问题。原文转载:http://fashion.shaoqun.com/a/815932.html


t t:https://m.ikjzd.com/k/6716
zappos:https://www.ikjzd.com/w/330
sears:https://www.ikjzd.com/w/335
c88:https://www.ikjzd.com/w/1017?ivk_sa=1024320u
越南互联网用户突破7100万!Lazada娱乐化消费策略助你Bday销量破新高:https://m.ikjzd.com/articles/156003
亚马逊再锤刷单! 90 万账号要遭殃?!:https://m.ikjzd.com/articles/156001
2022年,如何让Facebook算法为你工作:https://m.ikjzd.com/articles/156008

No comments:

Post a Comment